¿Cómo utilizar el dispensador automático de mi lavadora?

Last Update date : 2025-07-17

Con los dispensadores automáticos de la lavadora Samsung, ya no tendrás que preocuparte porque dispensa automáticamente detergente y suavizante durante los ciclos de lavado. Solo necesita llenar periódicamente el dispensador automático, y luego, las próximas veces que lave la ropa, la lavadora se encargará de agregar el detergente y el suavizante por usted.

¿Cómo utilizar el dispensador automático de mi lavadora? ¿Cómo utilizar el dispensador automático de mi lavadora?

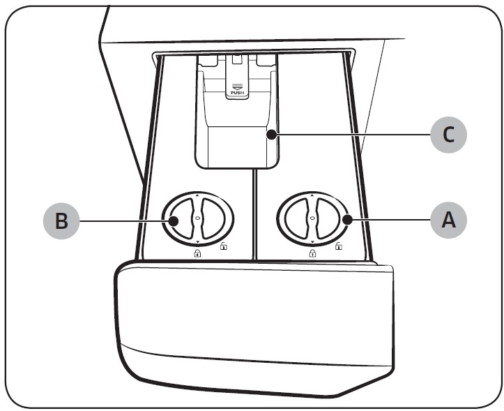
Divisiones de los cajones de detergente

Divisions of detergent drawers 2 Divisions of detergent drawers 2

Los modelos con dosificador automático tienen tres compartimentos: dos compartimentos para la dosificación automática y otra parte para la entrada manual. Si las configuraciones Auto Detergente y Auto Suavizante están habilitadas, la lavadora dispensa una cantidad adecuada de detergente o suavizante en el tambor de acuerdo con el ciclo.

1 Compartimiento de suavizante automático

- Usa solo suavizante de telas. No cargues detergente en polvo.
2 Compartimiento de detergente automático

- Utiliza únicamente detergente líquido.
3 Compartimiento de detergente manual

- Si es necesario, agrega detergente manualmente según las instrucciones del fabricante del detergente.

- Para usar el detergente en este compartimiento, asegúrate de que la opción de dispensación automática esté desactivada.

-Para apagar el dispensador automático y usar el compartimento manualmente, gira el dial de navegación para seleccionar Dosis por lavado y luego selecciona apagado.

- Cuando agregues detergente no superes la linea MAX
how-to-use-the-auto-dispenser-of-my-washing-machine how-to-use-the-auto-dispenser-of-my-washing-machine

Guía para agregar el detergente líquido, suavizante

 

Paso 1. Tira del cajón de detergente para abrirlo.

-Sujeta suavemente el cajón del detergente y tira para abrirlo.

 

Paso 2. Abre la tapa del compartimiento de detergente automático

- Gira la tapa del compartimiento de detergente automático en sentido inverso a las manecillas del reloj para abrir.

Dispensa la cantidad correcta de detergente en el compartimiento de detergente automático. Y luego, vuelve a colocar la tapa y gírala en sentido a las manecillas del reloj para cerrar.

01-filter-cleaning 01-filter-cleaning
01-use-automatic-detergent-compartment 01-use-automatic-detergent-compartment

Paso 3. Abre la tapa del compartimiento de suavizante automático

- Gira la tapa del compartimiento de suavizante automático en sentido inverso a las manecillas del reloj para abrir.

Dispensa la cantidad correcta de suavizante en el compartimiento de suavizante automático. Y luego, vuelve a colocar la tapa y gírala en sentido a las manecillas del reloj para cerrar.

Paso 4. Empuja el cajón dispensador hasta el fondo. Escucharas un clic cuando el cajón esté correctamente cerrado.

03-use-automatic-detergent-compartment 03-use-automatic-detergent-compartment
04-filter-cleaning 04-filter-cleaning

¿Cómo ajustar la concentración del detergente en relación con la cantidad de agua?

Dosis por lavado
Puedes aumentar o reducir la cantidad de detergente que se dispensa automaticamente.

1.-Pulsa

2.-Gira la perilla de navegación para seleccionar la Dosis por lavado y, luego pulsa 

3.- Pulsa  para seleccionar el ajuste deseado

-El ajuste predeterminado es Med (Media).

-Puedes seleccionar entre Med, Alta, Baja o Apagar

Dosis por enjuague

Puedes aumentar o reducir la cantidad de suavizante que dispensa automaticamente.

1.- Pulsa 

2.-Gira la perilla de navegación para seleccionar la dosis por enjuague y, luego pulsa 

3.- Pulsa  para seleccionar el ajuste deseado

1 Mientras mantiene presionada la palanca de seguridad dentro del cajón, jale el cajón para extraerlo.
While-holding-down-the-safety-lever-inside-the-drawer-pull-the-drawer-out While-holding-down-the-safety-lever-inside-the-drawer-pull-the-drawer-out
2 Retire el compartimiento para detergente y el compartimiento para suavizante del cajón para detergente y luego limpie todas las piezas de ambos compartimientos con agua corriente y un cepillo suave.
- Abra las tapas de ambos compartimientos y, luego, agrégueles agua y agítelos para limpiar su interior.
3 Limpie los componentes del cajón con agua corriente y un cepillo suave.
Clean-the-drawer-components-with-running-water-and-a-soft-brush Clean-the-drawer-components-with-running-water-and-a-soft-brush
4 Limpie los componentes del cajón con agua corriente y un cepillo suave.
03-filter-cleaning 03-filter-cleaning

Precaución: No rocíe agua en el hueco del cajón para detergente. Puede provocar una descarga eléctrica o un incendio.

5 Vuelva a colocar el cajón para detergente en la lavadora.

Nota: Asegúrese de que el hueco del cajón esté completamente seco antes de colocar el cajón para detergente.   

Solución de problemas lavadoras
Problema Acción
    Después de un ciclo, queda detergente en el cajón para detergente.
    • Asegúrese de que la lavadora funcione con suficiente presión de agua.

    • Asegúrese de verter el detergente en la parte central del cajón para detergente.

    • Asegúrese de insertar correctamente el medidor para el enjuague.

    • Si utiliza un detergente granulado, asegúrese de que el selector de detergente se encuentre en la posición superior.

    • Retire el medidor para el enjuague y limpie el cajón para detergente.
    No se puede agregar detergente adicional.
    • Asegúrese de que la cantidad restante de detergente y suavizante de telas no supere el límite.
    Aparece un mensaje en la pantalla para alertar que el dispensador está abierto.
    • Verifique que el cajón para detergente esté cerrado correctamente.

    - Abra el cajón para detergente y ciérrelo nuevamente. Asegúrese de que esté cerrado correctamente.
    No desaparece el mensaje
    "Agregue detergente", "Agregue suavizante" o "Añadir deterg. y suaviz.”
    luego de recargar el detergente/suavizante.
    • Cuando recargue los compartimientos automáticos para el detergente/suavizante, cierre el cajón para detergente y, luego, mantenga pulsado.

    Luego, la lavadora comenzará a detectar el detergente/suavizante y el mensaje desaparecerá.

    • Según el tipo de detergente/suavizante, es posible que el mensaje no desaparezca de inmediato.
    No se dispensa el detergente/suavizante.
    • Verifique si la opción “Dosis por lavado” o “Dosis por enjuague” está configurada en Apagar.

    - El compartimiento automático para el detergente/suavizante no dispensa el detergente/suavizante si la opción está configurada en Apagar.

    - Pulse la “función adicional (la mano)”, seleccione Dosis por lavado o Dosis por enjuague y, luego, pulse ⃝ para seleccionar el nivel de llenado deseado del detergente/suavizante.

    - Las opciones "Dosis por lavado" y "Dosis por enjuague" se desactivan automáticamente en los ciclos Lana, Delicados, Ropa impermeable y Ropa Deportiva. Para dispensar el detergente/suavizante en los ciclos Lana, Delicados, Ropa impermeable y Ropa Deportiva, pulse la “función adicional (la mano)”, seleccione Dosis por lavado o Dosis por enjuague y, luego, pulse ⃝ para seleccionar el nivel de llenado deseado del detergente/suavizante.
    Se dispensa una cantidad de detergente/ suavizante excesiva o insuficiente.
    • Verifique los ajustes de "Dosis por lavado” y “Dosis por enjuague”.

    - Pulse la “función adicional (la mano)”, seleccione Dosis por lavado o Dosis por enjuague y, luego, pulse ⃝ para seleccionar el nivel de llenado deseado del detergente/suavizante.

Queremos conocer tu opinión, evalúanos.

Queremos conocer tu opinión, evalúanos.

Gracias por tus comentarios